內螺紋截止閥
一、簡介說明:
J13W系列內螺紋截止閥屬于強制密封式閥門,所以在閥門關閉時,須***向閥瓣施加壓力,以強制密封面不泄漏。當介質由閥瓣下方進入閥門時,操作力所需要克服的阻力,是閥桿和填料的摩擦力與由介質的壓力所產生的推力,關閥門的力比開閥門的力大,所以閥桿的直徑要大,否則會發生閥桿頂彎的故障。內螺紋截止閥開啟時,閥瓣的開啟高度,為公稱直徑的25%~30%時,流量已達到***大,表示閥門已達全開位置。所以截止閥的全開位置,應由閥瓣的行程來決定。
二、內螺紋截止閥的設計與制造標準:
1、設計與制造:GB12233;
2、結構長度:GB12221;
3、螺紋連接尺寸:GB/T15918.1-93;
4、檢驗與實驗:GB/T13927;
三、內螺紋截止閥的優點:
1、結構簡單,制造和維修比較方便。
2、工作行程小,啟閉時間短。
3、密封性好,密封面間磨擦力小,壽命較長。
四、主要零件材料 Materials for main parts
零件名稱Part name | 閥桿、閥蓋Stem、Bonnet | 閥桿、閥瓣Stem、Disc | 填料Packing |
J13W-16P | 鉻鎳不銹鋼 Cr,NI Stainless steel | 鉻鎳不銹鋼 Cr,NI Stainless steel | 聚四氟乙稀、柔性石墨 PTEF,Soft graphite |
J13W-160、J13W-40 | 優質碳鋼 Hihg grade carbon steel | 鉻不銹鋼 Cr,Stainless steel |
五、內螺紋截止閥的主要性能規范 Chief property and specifieation
型號 Type | 公稱壓力(MPa)Nominal pressure | 試驗壓力(MPa)Test pressure | 工作壓力(MPa)Working pressure | 工作溫度(℃)Working temperature | 適用介質 Applicable mediun | ||
殼體 Shell | 密封(液) Seal | 密封(氣) Seal | |||||
J13W-16 | 1.6 | 2.4 | 1.76 | 0.6 | 1.6 | P<540℃ | 液化石油氣水、酸、蒸汽、油品等Petroleun gas Water,Asic,Steam,Oil etc. |
J13W-40P | 4.0 | 6.0 | 4.4 | 0.6 | 4.0 | ||
J13W-160 | 16.0 | 24.0 | 17.6 | 0.6 | 16.0 | C<425℃ | |
J13W-320P | 32.0 | 48.0 | 35.2 | 0.6 | 32.0 | ||
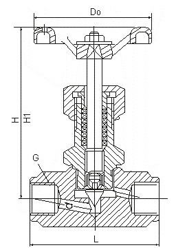
六、主要外形及連接尺寸 Main external and connecting dimensions(mm)

公稱直徑DN(mm) Nominal diameter | 管螺紋G Source ioint | 尺 寸 Dimensions | 重量(Kg) Weight | ||||
D0 | L | H | H1 | D | |||
6 | 1/4 | 60 | 55 | 90 | 100 | 4 | 0.63 |
10 | 3/8 | 60 | 60 | 92 | 102 | 5 | 0.65 |
15 | 1/2 | 65 | 65 | 97 | 107 | 6 | 0.8 |
20 | 3/4 | 80 | 80 | 109 | 121 | 8 | 1.07 |
25 | 1 | 100 | 90 | 122 | 132 | 10 | 1.8 |
32 | 11/4 | 140 | 128 | 180 | 191 | 15 | 5.0 |
40 | 11/2 | 160 | 148 | 200 | 215 | 18 | 7.2 |
七、設計訂貨及選型須知事項:
1、①產品名稱與型號②公稱直徑③產品壓力④產品材質⑤使用介質⑥產品溫度⑦是否帶附件以便我們的為您正確選型。
2、如有特殊要求時請在訂購產品時注明。
3、若已經由設計單位選定的型號,請按型號直接向我司銷售部訂購。
4、當使用的場合非常重要或環境比較復雜時,請您盡量提供設計圖。
八、售后服務承諾:
1、我公司所售截止閥產品在十二個月以內出現質量問題的,負責免費維修。
2、質保期內如我公司產品出現任何質量問題,我公司負責免費維修或更換。
3、質保期內如用戶使用不當,造成產品損壞,我公司負責維修,收取損壞部件成本費。
4、質保期后產品出現質量問題,我公司負責維修,收取損壞部件成本費。
5、如用戶需我公司現場服務,對省內用戶我公司服務人員12小時內到達現場,省外用戶48小時內到達現場。

