電動V型調節球閥
一、產品概述:
電動V型調節球閥,配用AOX系列執行機構,無需另配伺服放大器,輸入(4-20mADC或1-5ADC)信號及單相電源即可控制運轉,實現對壓力、流量、溫度、液位等參數的調節。閥芯上開有V型切口,與硬密封閥座相對轉動產生剪切力,可將纖維切斷,防止卡死。具有流通能力,調節精度高,可調比大,密封性好,重量輕等特點。適用于除小口徑,角型、三通連接外的大部分場合,是替代進口產品的***佳產品,特別適用于泥漿和含有纖維性介質,以及含有微小固體懸浮物介質的調節。廣泛應用于造紙業、制糖、石油、化工、冶金等工業自動控制系統中。
二、產品特點:
1.引進技術設計結構簡單、重量輕、材料成本低,比同樣流通能力的直行程調節閥更經濟;
2.不帶任何管接頭的整體式閥體,因此不受管道或螺栓應力影響,并且由于閥體無任何管接頭,故耐壓殼體不會受壓力“突變”的影響;
3.防漏耐用的閥座在其外徑處襯有帶不銹鋼內芯PTFE杯形或是O型密封圈,閥座用截面較大的鎢鈷硬質合金制成,通過一個合金的波紋彈簧進一步增強了閥座的結構;
4.具有一個V型閥體,即使在小流量或高粘度介質的情況下,也可在整個量程范圍內,保證控制的準確性;
5.當閥門關閉時,V型缺口與閥座之間產生楔形剪切作用,并既具有自潔功能又可防止球芯卡死,特別適用于管線結垢凍結、含纖維質的流體、料漿類流體、高粘度流體,含聚合物、顆粒物、結晶體等流體控制場合.
三、閥體:
公稱通徑;25-300mm
公稱壓力:PN1.6, 4.0, 6.4Mpa
連接形式:法蘭式按JB/T79.2-94凹或按JB78-5P對夾式
法蘭連接
材料:WCB ZG1Gr18Ni9Ti CF3M
填料:V型聚四氟乙烯填料,含浸聚四氟乙烯填料,石棉編織填料。耐高溫碳纖維填料
溫度:常溫:-20℃~+120℃ 散熱:+200℃~+450℃
四、閥內組件:
閥芯形式:V形缺口半球體
流量特性:等百分比特性。
球體閥桿2Cr13 1Cr18Ni9Ti oCr17Ni12Mo2(316L)
金屬閥座材料:與閥桿材料相同,密封堆焊鈷鉻硬質合金,非金屬閥材料,增強聚四氟乙烯。
五、執行機構:
類型:可選用PSQ系列、DTR、3810系列角行程執行機構。

六、電動V形球閥規格參數表:
| 公稱通徑DN | 25 | 32 | 40 | 50 | 65 | 80 | 100 | 125 | 150 | 200 | 250 | 300 |
| 流量系數(Kv) | 25 | 40 | 63 | 100 | 160 | 250 | 350 | 680 | 990 | 1600 | 2500 | 4000 |
| 動作范圍 | 0-90° | |||||||||||
| 允許壓差△P | 小于公稱壓力(1.6MPa) | |||||||||||
| 泄漏量Q | 按API598標準測試 無泄漏 | |||||||||||
| 環境溫度℃ | -20~60℃ | |||||||||||
| 基本誤差 | ±2% | |||||||||||
| 回差 | ±2% | |||||||||||
| 死區 | 1% | |||||||||||
| 可調范圍 | 250:1 | |||||||||||
| 配用執行機構 | PSQ101, 3810RSA-05DTR-05~10 | PSQ201381RSC-30DTR-20~30 | PSQ3013810RSC-50 DTR-40 | PSQ701DTR-60 | ||||||||

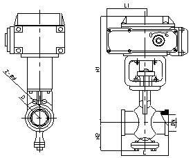
七、ZAJV電動V型調節閥外形尺寸:
| 公稱通徑DN | L | DTR | H2 | D1 | Z-d | |
| H1 | L1 | |||||
| 25 | 102 | 277 | 208 | 60 | 85 | 4-14 |
| 32 | 102 | 295 | 208 | 65 | 100 | 4-18 |
| 40 | 114 | 305 | 208 | 75 | 110 | 4-18 |
| 50 | 124 | 364 | 208 | 95 | 125 | 4-18 |
| 65 | 143 | 379 | 208 | 105 | 145 | 4-18 |
| 80 | 165 | 389 | 256 | 120 | 160 | 8-18 |
| 100 | 194 | 402 | 256 | 140 | 180 | 8-18 |
| 125 | 213 | 426 | 256 | 165 | 210 | 8-18 |
| 150 | 229 | 445 | 256 | 185 | 240 | 8-23 |
| 200 | 243 | 465 | 256 | 205 | 295 | 12-23 |
| 250 | 297 | 610 | 346 | 240 | 355 | 12-25 |
| 300 | 338 | 660 | 346 | 290 | 410 | 12-2 |
八、型號編制說明:
| Z | D | J | V | 9 | 11 | F | 16 | P | G |
| 自控閥門 | 執行機構類型 | 位移特征 | 閥門代號 | 傳動形式 | 連接形式 | 密封面材料 | 公稱壓力 | 閥體材質 | 溫度類型 |
| D:表示PS系列 | J:表示角行程 | Q:表示球閥 | 9:表示電動 | 41:表示法蘭 | F:表示四氟乙烯 | 16:表示1.6MPa | C:表示碳鋼 | G:表示中溫型常溫省略 | |
| R:表示3810系列 | D:表示碟閥 | 6:表示氣動 | 11:表示絲扣 | H:表示金屬硬密封 | 25:表示2.5MPa | P:表示不銹鋼 | |||
| A:表示DTR系列 | V:表示V形球閥 | 71:表示對夾式 | 40:表示4.0Mpa | ||||||
| 64:表示6.4MPa |
訂貨須知:
1、①ZAJV型電動V型調節球閥產品名稱與型號②ZAJV型電動V型調節球閥口徑③ZAJV型電動V型調節球閥是否帶附件以便我們的為您正確選型。
2、若已經由設計單位選定明精公司的ZAJV型電動V型調節球閥型號,請按ZAJV型電動V型調節球閥型號直接向我司銷售部訂購。
3、當使用的場合非常重要或環境比較復雜時,請您盡量提供設計圖紙和詳細參數,由我們的中偉zj****為您審核把關。

